-
27 июня

экипаж танкера компании спас 19 моряков в Аденском заливе © sudostroenie.info Танкер «Совкомфлота» «НС Африка» пришел на помощь терпящему бедствие судну в Аденском заливе. Об этом сообщили 26 июня в пресс-службе судоходной компании.
По данным «Совкомфлота», 23 июня в 13:12 по местному времени танкер «НС Африка», следуя в Аденском заливе в 96 морских милях к юго-востоку от порта Ништун (восточное побережье Йемена), получил сигнал от терпящего бедствие танкера Lavant.
Экипаж танкера оперативно отреагировал на полученный сигнал и изменил свой курс, направившись в район бедствия. Моряки тонущего судна вынужденно покинули его, спустившись на спасательном плоте в открытое море, где пребывали на момент их обнаружения.
-
29 января

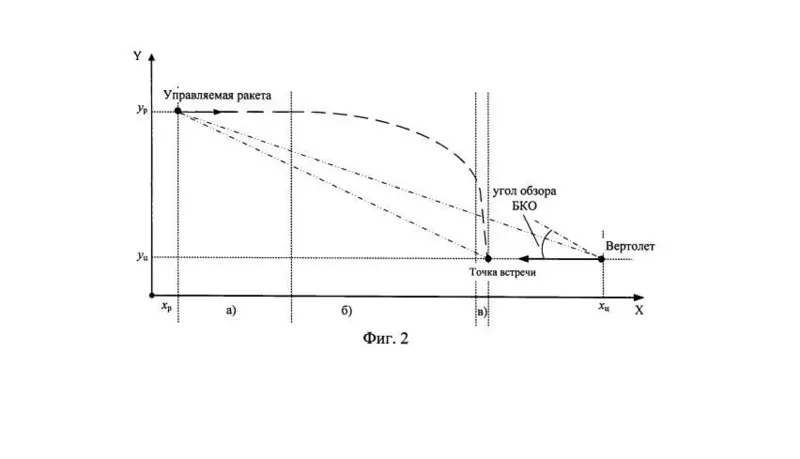
© www1.fips.ru Инженеры Военной академии военно-космической обороны им. Г. Жукова (Тверь) получили одобрение заявки на патент. В нем описывается способ поражения ракетой вертолета с бортовым комплексом обороны. Ракета автоматически отклоняется и не дает себя обнаружить.
На сайте Роспатента опубликовали одобрение заявки на способ самонаведения ракеты «воздух-воздух», чтобы поражать вертолеты с бортовым комплексом обороны (БКО). Такие комплексы сбивают ракеты на подлете, не давая повредить машину.
-

© cdn.tvc.ru 25 декабря поднят Андреевский флаг на фрегате «Адмирал Головко».
Многоцелевой надводный фрегат «Адмирал Головко» построен для ведения боевых действий в дальней и ближней морских зонах, участия в решении задач мирного времени во всех зонах, включая океанскую.
Фрегат предназначен для поражения надводных кораблей и судов, конвоев, десантных отрядов, для постановки минных заграждений, поиска и уничтожения подводных лодок противника, поражения наземных целей, противовоздушной, противолодочной и противоракетной обороны кораблей и судов.
-
17 октября
Здание возвели в рекордно короткие сроки — за 8,5 месяца. Корпус уже передали Концерну воздушно-космической обороны «Алмаз-Антей».
Здесь, в индустриальном парке «Руднево», разместится новый завод, который станет единым инженерно-производственным комплексом. Под одной крышей будут обрабатывать, собирать и испытывать выпускаемую продукцию. Это позволит максимально нарастить темпы производства, чтобы закрыть текущие и будущие потребности Минобороны.

© clck.ru -
16 августа
Аттестация лаборатории Единой системой оценки соответствия в области промышленной, экологической безопасности, безопасности в энергетике и строительстве означает, что в ней имеются все условия для выполнения необходимых видов испытаний и анализов. Аттестованная лаборатория ТСЗП — это гарантия контроля качества покрытий, производимых на предприятии, достоверности результатов исследований, комплексный подход к поиску и устранению возможных причин брака, применение передовых методов контроля качества и анализа дефектов.
-
27 февраля

© cdn-storage-media.tass.ru Ижевский электромеханический завод «Купол» (входит в концерн ВКО «Алмаз-Антей») в 2022 году досрочно передал войскам большую партию зенитных ракетных комплексов (ЗРК) «Тор». Об этом сообщил глава предприятия Фанил Зиятдинов.
«Достигнута положительная динамика по всем направлениям. Темпы роста в среднем составили 120%. Главным результатом работы стало исполнение обязательств по гособоронзаказу. Несмотря на увеличение объёмов, наши основные изделия — ЗРК семейства „Тор“ — отгружены в войска досрочно», — заявил Зиятдинов.
-
24 февраля
Команда Mashnews на международной выставке NAIS — это одно из крупнейших событий в авиационной отрасли.
Какие технологии используют для устройства инфраструктуры аэропортов в стране? Какие решения применяют для повышения эффективности и безопасности полетов?
-
16 сентября
Перспективная зенитная ракетная система (ЗРС) С-500 «Прометей» начала поставляться в российские войска после завершения госиспытаний.
ЗРС С-500 «Прометей» (ОКР «Триумфатор-М») производства концерна ВКО «Алмаз-Антей» относится к новому поколению ЗРС «земля-воздух». Это универсальный комплекс дальнего действия и высотного перехвата с повышенным потенциалом противоракетной обороны, который предназначена для поражения всех имеющихся и перспективных средств воздушно-космического нападения вероятного противника во всем диапазоне высот и скоростей — способен перехватывать не только баллистические, но и аэродинамические цели, а также крылатые ракеты. Радиус поражения С-500 составляет около 600 км.
Подготовка специалистов для работы на ней ведётся с 2017 года. С-500 придёт на смену ЗРС С-400 «Триумф».
Ранее сообщалось, что первые системы С-500 «Прометей» поступят на вооружение армии, которая обеспечивает противовоздушную и противоракетную оборону Москвы и Центрального промышленного района России.
-
20 августа
На судостроительном комплексе (ССК) «Звезда» (Приморский край) состоялась церемония закладки киля нового ледокольного газовоза, заказанного при участии группы «Совкомфлот» для обслуживания проекта «Арктик СПГ 2».
Это первое судно из числа 14 газовозов, заказчиком которых выступает ООО «СМАРТ СПГ», совместное предприятие ПАО «Совкомфлот» и ПАО «НОВАТЭК».
Всего ССК «Звезда» ведет строительство 15 таких судов. Владельцем пилотного газовоза является непосредственно группа «Совкомфлот», остальных судов серии — «СМАРТ СПГ».
Поставка судна запланирована на 2023 год. Закладка киля произведена в предусмотренные контрактом сроки.
-
16 июня
На фото: Владимир Бастин, заместитель директора инженерного центра группы «Совкомфлот» (слева), и Роман Цейгер, заместитель генерального директора по производству ССК «Звезда» (справа), устанавливают закладную доску судна. © www.scf-group.com15 июня 2021 года на судостроительном комплексе (ССК) «Звезда» (Приморский край) состоялась церемония закладки киля нового ледокольного газовоза группы компаний «Совкомфлот» (СКФ).
Это пилотное судно серии в составе 15 газовозов, заказанных на ССК «Звезда» для обслуживания проекта «Арктик СПГ 2», и первое в истории судно таких размерений, грузовместимости и ледоходных характеристик, строительство которого ведется на российской верфи.
Владельцем пилотного газовоза выступает группа «Совкомфлот», остальных 14 судов серии — компания «СМАРТ СПГ», совместное предприятие ПАО «Совкомфлот» и ПАО «НОВАТЭК».
Все суда серии будут эксплуатироваться по долгосрочным тайм-чартерным контрактам с ООО «Арктик СПГ 2». Финансирование строительства осуществляет ВЭБ.РФ. Все 15 газовозов будут работать под государственным флагом Российской Федерации, наблюдение за строительством осуществляет Российский морской регистр судоходства (РС) совместно с Bureau Veritas (BV).
Поставка судов запланирована на 2023-2025 годы. Закладка киля пилотного судна была произведена в соответствии с предусмотренными контрактом срокам.
-
В обзор включены новости, ранее не опубликованные на сайте.
В аэропорту города Уфа открыт для пассажиров новый терминал внутренних авиалиний.
Объединенный терминал внутренних авиалиний начал обслуживать пассажиров в аэропорту Уфы. После объединения действующего и нового здания общая площадь терминала увеличилась более чем в два раза, до 29 тысяч кв. м, пропускная способность — с 600 до 1,2 тыс. человек в час.
«В результате мы сможем обслуживать более 4 млн пассажиров в год, из которых 2 млн — на внутренних авиалиниях», — сообщил генеральный директор аэропорта «Уфа» Александр Андреев. Пассажиры внутренних рейсов будут получать багаж в зоне прилета нового здания, для них предусмотрены три багажные карусели. В стерильной зоне работают бизнес-зал, детская зона и кафе.
Как сообщал РБК Уфа, на реконструкцию терминала потратили 3 млрд рублей, из которых 84% — собственные средства воздушной гавани, а 500 млн рублей выделила республика.
-
12 мая
С-350 «Витязь». Архивное фото © 02.oficery.ruНа вооружение частей противовоздушной обороны юга России поступила первая зенитная ракетная система средней дальности С-350 «Витязь».
"По своим характеристикам он предназначен для борьбы как с аэродинамическими, так и баллистическими целями. Один из зенитных ракетных полков округа уже приступил к перевооружению на этот новый образец", — сообщил газете «Военный вестник Юга России» командующий войсками округа генерал армии Александр Дворников.
Комплекс C-350 «Витязь» придет на смену устаревшим зенитным ракетным системам С-300ПС, которые приняты на вооружение в 1982 году.
Новая система ПВО имеет максимальный радиус поражения целей до 60 километров и может сбивать самолеты и ракеты противника на высоте порядка 30 километров.
Одна пусковая установка ЗРC «Витязь» вооружена 12 зенитными ракетами, а саму систему можно привести в боевую готовность всего за пять минут. Стоит отметить, что ракета 9M96E2 может перехватывать цели, летящие со скоростью до 4 800 метров в секунду.
Технические возможности РЛС и машины управления позволяют С-350 одновременно обстреливать 16 целей. «Витязь» способен действовать в автоматическом режиме и отражать массированные налеты с различных направлений атаки.
-
В обзор включены новости, ранее не опубликованные на сайте.
В небе над европейской частью России введена новая структура воздушного пространства.
3 декабря 2020 года в 03:00 по московскому времени Московская и смежные с ней зоны Единой системы организации воздушного движения Российской Федерации (ЕС ОрВД РФ) начали работу в условиях новой структуры воздушного пространства. В ночь со среды на четверг структура воздушного пространства изменилась не только в столичном регионе, но и почти над всей европейской частью России. Это событие должно стать знаменательной вехой для всей авиационной отрасли страны.
На момент перехода в воздушном пространстве Московской и смежных с ней зон Единой системы находились около 480 воздушных судов.
По итогам ввода новой структуры воздушного пространства можно констатировать, что пропускная способность в Московской зоне Единой системы ОрВД увеличена в 1,5 раза. Это произошло благодаря использованию современных методов и средств навигации при формировании маршрутов, бесконфликтных схем прибытия и вылета с основных аэродромов, а также независимых одновременных заходов на посадку на параллельные взлетно-посадочные полосы аэродромов Шереметьево и Домодедово. Кроме того, время полёта в Московской зоне ЕС ОрВД сокращено в среднем на 15 процентов, а протяжённость маршрутов — на 21 процент. Уже сегодня над Московской и смежными с ней зонами организация воздушного движения может обеспечить для каждого аэродрома такое количество взлётно-посадочных операций, которое в состоянии принять наземная инфраструктура данной воздушной гавани. Показатель расхода топлива сократится почти на 14%. При этом расчетная экономия топлива в среднем для прибывающих воздушных судов в Шереметьево составит 39%, в Домодедово — 34%, во Внуково — 23%.
-
30 марта
На ССК «Звезда» состоялась церемония закладки очередного танкера типа «Афрамакс». Об этом сообщает пресс-служба предприятия.
Это восьмое судно в серии из 12 танкеров в портфеле заказов ССК «Звезда», резка металла для него началась в феврале 2020 года.
Плановый срок сдачи судна заказчику — 2022 год. Оно строится по заказу ПАО «Совкомфлот», с последующим фрахтованием ПАО «НК «Роснефть» в соответствии с соглашением, подписанным в сентябре 2018 года в рамках IV Восточного экономического форума.
Отметим, что ранее такие суда в России не строились. Длина «Афрамакса» составляет 250 м, ширина — 44 м, дедвейт — 114 тыс. т, скорость — 14,6 уз, ледовый класс — ICE-1А.
-
19 февраля
Арктический газовоз «Кристоф де Маржери» 19 февраля 2021 года в 16:30 мск завершил экспериментальный круговой рейс по маршруту Сабетта — Цзянсу (КНР) — Сабетта по высокоширотной трассе Северного морского пути и ошвартовался к причалу в порту погрузки. Об этом сообщает пресс-служба ПАО «Совкомфлот».
Впервые в истории крупнотоннажное грузовое судно осуществило транзитный переход по восточному сектору Арктики в феврале.
Обратный переход по СМП от мыса Дежнева до Сабетты танкер осуществлял под проводкой атомного ледокола «50 лет Победы». Протяженность маршрута по Севморпути составила около 2500 морских миль, движение каравана по СМП заняло 11 суток 10 часов.
«В результате майского рейса „Кристофа де Маржери“ 2020 года, а также текущего рейса газовоза, навигационное окно в восточном секторе Арктики было расширено практически в два раза. Увеличение периода арктической навигации позволяет говорить о перспективах более эффективного использования высокоширотного транспортного коридора как для российской, так и для мировой экономики», — подчеркнул генеральный директор ПАО «Совкомфлот» Игорь Тонковидов.
-
19 января
Фото сайта: m.123ru.net © www.rosneft.ruСудостроительный комплекс «Звезда» приступил к строительству третьего танкера-продуктовоза типа MR, работающего на газомоторном топливе. Резка первых деталей корпуса будущего судна началась в блоке корпусных производств на новом высокотехнологичном газо-плазменном станке, установленном в рамках расширения действующих мощностей основного цеха верфи.
Дедвейт танкера составит около 50 тыс. тонн, длина — более 180 метров, ширина — более 32 метров, осадка — 13 метров. Суда ледового класса 1B могут безопасно осуществлять круглогодичную навигацию, в том числе в ледовых условиях Балтийского моря.
-
18 января
16 января в 20.20 мск газовоз «Кристоф де Маржери» достиг траверза мыса Дежнева и завершил переход по трассе Северного морского пути (СМП) в восточном направлении в рамках выполнения коммерческого рейса по доставке партии сжиженного газа проекта «Ямал СПГ» в Азиатско-Тихоокеанский регион.
Впервые транспортировка российского СПГ по данному маршруту была обеспечена в январе.
Результаты перехода подтверждают: коммерческая перевозка грузов в восточном секторе российской Арктики в осенне-зимний период становится возможна на 1-2 месяца позже, что позволяет еще на шаг приблизиться к организации круглогодичной безопасной навигации на всем протяжении трассы СМП. В свою очередь, это будет способствовать реализации национальных планов по увеличению грузопотока в акватории Севморпути и развитию транзитного потенциала этой транспортной артерии.
-
01 декабря
На Судостроительном комплексе «Звезда» в Приморском крае заложен танкер типа «Афрамакс», который строится для «Совкомфлота». Это — шестое по счету судно в серии из 12 танкеров, находящихся в портфеле заказов ССК «Звезда». Головное судно серии спущено на воду.
-
09 ноября
Судостроительный комплекс «Звезда» приступил к строительству второго танкера-продуктовоза типа MR, работающего на газомоторном топливе. Резка первых деталей корпуса будущего судна началась в блоке корпусных производств на новом высокотехнологичном газо-плазменном станке, установленном в рамках расширения действующих мощностей основного цеха верфи.
Танкеры предназначены для транспортировки нефтепродуктов и газового конденсата и будут эксплуатироваться в рамках долгосрочных тайм-чартерных договоров Группы компаний «Совкомфлот» с ПАО «НОВАТЭК». Силовые установки танкеров-продуктовозов будут работать на экологически чистом газомоторном топливе. Такое топливо позволяет существенно снизить объем выбросов в атмосферу. Технические характеристики судов разработаны с учетом новых требований Международной морской организации (IMO).
-
07 сентября
ООО «Современный морской арктический транспорт СПГ» (ООО «СМАРТ СПГ», совместное предприятие ПАО «Совкомфлот» и ПАО «НОВАТЭК») заключило с группой ВЭБ.РФ и ООО «Судостроительный комплекс „Звезда“» пакет соглашений на строительство десяти арктических газовозов ледового класса Arc7. Одновременно компания «СМАРТ СПГ» заключила с ООО «Арктик СПГ 2» долгосрочные тайм-чартерные договоры на эксплуатацию этих судов в рамках проекта «Арктик СПГ 2».









